MANUAL
取扱説明書
To customers using these aluminum wheels
Please read the instruction manual and follow the precautions for correct and safe use before installation or use.
Also, please keep the instruction manual in a place where it can be retrieved at any time when needed.
To dealers
Please read the instructions before installation, explain them to the customer, and be sure to hand over the instruction manual.
Also, for the wheels purchased by the customer, be sure to fill in the ★ column on the back of the instruction manual's warranty card, and fill in the dealer's name, address, and phone number, and hand the warranty card to the customer.
Also, please keep the instruction manual in a place where it can be retrieved at any time when needed.
This content indicates a very high risk of death or serious injury if handled incorrectly.
This content indicates a risk of death or serious injury if handled incorrectly.
This content indicates a risk of injury or property damage if handled incorrectly.
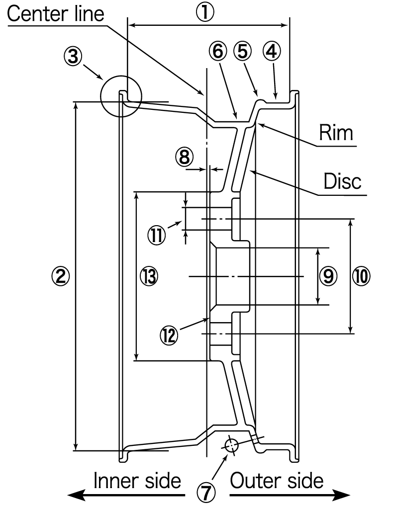
Names of Wheel Parts

【Example of a one-piece wheel】
①
Rim width
②
Rim diameter
③
Flange
④
Bead seat
⑤
Hump
⑥
Well
⑦
Valve hole
⑧
Inset
⑨
Hub bore diameter
⑩
P.C.D.
(Pitch Circle Diameter)
⑪
Mounting bolt hole diameter
⑫
Disc mounting surface
⑬
Mounting part diameter
Wheel Selection
■Check that the wheel size, inset, number of mounting holes, P.C.D. (Pitch Circle Diameter), and mounting surface shape are compatible with the vehicle to be installed on.
If these are incompatible, the wheel cannot be mounted on the vehicle.
Install wheels of the same size and type on each axle. Mixing different wheels may cause a loss of handling and stability.
If the wheel and tire sizes are not compatible, the tire or wheel may be damaged.
Valve Installation and Tire Assembly
■When changing tires, please also replace the valve with a new, dedicated valve. If you use an old valve, air may leak due to the deterioration of rubber parts such as gaskets.
■Please use a short type valve core (JIS B type, No. 9000).
Please use the dedicated valve that comes with the wheel. Using a different valve may cause air leaks due to an incompatible size or shape.
■Some wheels are assembled from the front rim side and others from the back rim side, so please assemble the tires according to the respective rim shape.
■Always use a lubricant when assembling tires.
■When inflating to the operating air pressure, make sure that the bead is properly seated on the rim seat.
■Please use a short type valve core (JIS B type, No. 9000).
Inflation of air for assembly to the rim should be performed inside a safety cage or other safety measure, and with an air pressure of 300 kPa (3.0 kgf/㎠) or less.
After assembling the tire, check for air leaks from the joint between the tire and rim, and from the valve using a water tank or soapy water. To check for air leaks from the valve, inspect the joint between the valve and the wheel, and the valve mouth.
Be sure to adjust the wheel balance for all wheels. An imbalance can cause abnormal vibrations and a decrease in handling and safety.
Mounting Wheels on the Vehicle

■Wheel mounting nut seats (bolt seats) have various shapes such as 60° taper, spherical, and flat. Please use bolts (nuts) that match each shape.
■Always check that the diameter, thread pitch, and length of the vehicle's hub bolts (bolt holes) and the nuts (bolts) you are about to install are compatible.
■When mounting wheels, always carry spare wheel mounting nuts (bolts).
■When using a genuine spare wheel, use the genuine spare wheel nuts (bolts).
■For tightening the mounting nuts (bolts), perform a temporary tightening as shown in the diagram, then tighten evenly with the recommended torque.
(Recommended torque) For 60° taper: M10=50-70N・m (5-7kgf・m), M12=90-120N・m (9-12kgf・m), M14=160-180N・m (16-18kgf・m)
■Please use a short type valve core (JIS B type, No. 9000).
【Bolt tightening procedure】

■Always use a torque wrench to tighten the mounting nuts (bolts).
■After mounting on the vehicle, turn the steering wheel fully left and right to ensure there is no contact with the vehicle body.
■After mounting on the vehicle, always check that the tire and wheel do not protrude from the fender. Protruding installation from the vehicle body is prohibited by law.
The mounting nuts (bolts) must be the ones specified for the wheel. If non-specified parts are used, proper tightening may not be possible, and there is a risk of the wheel coming off while driving.
There is a risk of the wheel coming off while driving. When mounting the wheel on the vehicle, be sure to follow the following:
・The vehicle's mounting surface and hub bolts are free of rust, dirt, or deformation.
・There is no interference between the wheel to be installed and the vehicle's mounting surface (no contact between pins, bolts, center bosses, washers on the vehicle's mounting surface and the wheel).
Both overtightening and undertightening of mounting nuts (bolts) can cause deformation or loosening of the wheel, hub bolts, etc., and may lead to an accident.
Use a torque wrench to tighten with the correct torque.
Do not use an impact wrench to tighten the mounting nuts (bolts). Overtightening and damage/deformation of bolts, nuts, and wheels can cause an accident.
Use a torque wrench to tighten with the correct torque.
Driving after Wheel Installation
■After installation or rotation (changing tire positions), retighten the mounting nuts (bolts) to the recommended torque after driving approximately 100 km.
■During daily inspections, always check for any looseness in the mounting nuts (bolts). Also, for center cover type wheels, check the tightening of the center cover and center cover fixing nuts (bolts).
If you feel unstable driving, or abnormal vibrations or noises while driving, stop in a safe place immediately and check for any looseness in the mounting nuts (bolts) and for any abnormalities in the tires, wheels, and vehicle.
If any abnormalities are found, do not drive until appropriate replacement or repair is completed, as it may cause an accident.
Avoid contact with or driving over road curbs, and avoid driving on bumpy roads, as this may cause deformation or damage to the tires and wheels.
Sudden starts, sudden braking, and sudden turns can not only damage the tires and wheels but also cause serious accidents, so please avoid them at all costs.
Tire air pressure naturally decreases. Always perform a tire air pressure check before driving.
For tires with an aspect ratio of 45% or less, it is recommended to use an air pressure setting in the range of 270kpa to 350kpa (2.7kgf/㎠ to 3.5kgf/㎠).
For tire sizes other than the above, please adjust to the air pressure specified by the vehicle manufacturer. Insufficient air pressure can cause damage to the wheel even with small impacts.
Care and Storage
■To avoid wheel corrosion, after driving on the beach, snowy roads, or muddy roads, wash thoroughly with water and completely wipe off any moisture with a soft cloth.
■Washing in an automatic car wash may damage the wheels. Manual cleaning is recommended.
■After cleaning, dry the tires and wheels completely and store them away from direct sunlight, rain, moisture, oils, and high temperatures and humidity.
■When storing, lower the tire air pressure to about half of the pressure used. When using them again, replenish and check the tire air pressure, perform a balance adjustment, and confirm that there are no abnormalities in the tires and wheels.
■Some commercially available wheel, tire, and body cleaning agents, waxes, and coatings contain ingredients that are harmful to the wheel's paint and surface treatment. Please note that corrosion, discoloration, or peeling caused by the use of these cleaning agents, waxes, or coatings is not covered by the warranty.
Other Precautions
Absolutely do not disassemble the rim and disc, or loosen or retighten the assembly bolts of a multi-piece (2-piece or 3-piece) wheel.
This may cause the wheel to disassemble or a sudden air leak while driving.
Absolutely do not repair or modify the wheel. Improper modification or repair can lead to a decrease in strength that is not visible, which is extremely dangerous.
For repair consultations, please contact the dealer or manufacturer.
If the wheel has a concave disc design and has a surface treatment such as plating, the reflected light may be focused at a single point. In such cases, flammable materials placed nearby may ignite. The possibility of ignition is higher when conditions such as the position of the sun, weather, wheel orientation, type of flammable material, and location are all met. Please do not place flammable materials such as newspapers, magazines, or tires around wheels with a concave mirror-like disc design and a surface treatment such as plating.
Due to the characteristic shape of a full reverse rim, water accumulated in the inner rim part during high-speed driving in the rain may, in rare cases, cause the steering wheel to shake, depending on the driving speed, road conditions, and other factors.
A part to mitigate the above phenomenon, the [Water Avoider], is available separately.
Technical Standards
This wheel complies with the "Technical Standards for Light Alloy Wheels (JWL or JWL-T)" and has also passed the "Strength Test of the Vehicle Light Alloy Wheel Test Council (VIA)". To maintain safety and performance, please use the wheel in accordance with the contents of this document.
If you have any questions, please contact the dealer where you purchased it or our company.

Inquiries about aluminum wheels are also accepted by JAWA (Japan Light Alloy Wheel Association)
TEL 03-5719-9177.
Technical Standards for
Passenger Car Light Alloy Wheels
This standard is a safety standard set by the Ministry of Land, Infrastructure, Transport and Tourism that applies to light alloy wheels for passenger cars (excluding vehicles with a capacity of 11 or more passengers, two-wheeled vehicles, and two-wheeled vehicles with sidecars). A JWL mark is displayed on products that the manufacturer has tested on their own responsibility and that conform to this technical standard.
Technical Standards for
Truck and Bus Light Alloy Wheels
This standard is a safety standard set by the Ministry of Land, Infrastructure, Transport and Tourism that applies to light alloy wheels for trucks and buses. A JWL-T mark is displayed on products that the manufacturer has tested on their own responsibility and that conform to this technical standard.
Quality Inspection Passed Mark
This is a confirmation by a third-party public organization, the "Vehicle Light Alloy Wheel Test Council," as to whether a product conforms to the JWL and JWL-T standards. A VIA mark is displayed on products that have passed the strict quality and strength confirmation tests based on the JWL and JWL-T standards.
Warranty Information
Be sure to receive the instruction manual and warranty card (one copy included with each wheel) with the purchase date filled in from the dealer. The warranty card promises free repair of the wheel stated on the card in accordance with the warranty period and conditions described below. However, malfunctions caused by failure to perform daily inspections and maintenance specified by law and our company will not be covered by warranty repair.
Warranty Details (Warranty Policy)
⑴ Warranty Contents
If a malfunction occurs in the components of your wheel under normal use in accordance with the law and the instruction manual, we will repair it free of charge according to the warranty period and conditions shown on the warranty card. (This free repair is hereinafter referred to as "warranty repair".) Warranty repair will be performed by replacing or repairing parts. The defective parts removed for repair will become the property of our company.
⑵ Warranty Period
The warranty period is as follows:
| Category | Warranty Period | Applicable Products |
|---|---|---|
| General Warranty (Functional Warranty) |
3 years ※ Period from registration on the date of purchase |
Wheel body. Excluding products covered by the limited warranty that make up the wheel. |
| Limited Warranty (Appearance Warranty) |
1 year ※ Period from registration on the date of purchase |
Valve, center cover, center cap, nameplate. |
Warranty Repair Acceptance
For warranty repair, please bring the wheel to the dealer where you purchased it, present the warranty card, and request a repair. If the warranty card is not presented, the repair will be charged.
Warranty Application
The warranty card applies only to wheels used in Japan. The warranty card promises free repair under the warranty period and conditions specified in this document. Therefore, repairs for malfunctions that occur after the warranty period has expired will be charged, in principle.
Items Not Covered by Warranty
⑴ The following phenomena and malfunctions are not covered by warranty repair:
・Phenomena caused by wear and tear or aging deterioration. (Natural fading of painted surfaces, plated surfaces, sputtered surfaces, resin parts, etc.)
・Sensory phenomena that do not affect driving performance (vibrations due to incorrect wheel balance adjustment, things generally considered to be "driving feel")
・Malfunctions that worsened due to being neglected despite being discoverable and treatable with normal care
⑵ Malfunctions caused by the following are not covered by warranty repair:
・Malfunctions due to failure to follow the precautions described in the attached instruction manual
・Malfunctions due to modifications not approved by law or our company (repairs, additional processing, additional painting, additional plating, additional buffing, etc., by an unapproved repair shop)
・Malfunctions due to installation on a modified vehicle not approved by law
・Malfunctions due to incorrect routine maintenance or servicing
・Malfunctions due to the installation of an inappropriate wheel (size, etc.) for the vehicle to be installed on
・Malfunctions due to the installation of tires of a size other than that specified by law on the wheel
・Malfunctions due to not using parts such as mounting bolts, nuts, spacers, hub rings, and balance weights specified by our company
・Malfunctions due to external factors such as soot, chemicals, bird droppings, oil, stone chips, iron powder, acid rain, salt damage, antifreeze agents, and detergents
・Malfunctions due to natural disasters such as earthquakes and floods, fires, or accidents
・Malfunctions due to the use of defective tires or tubes, or due to mistakes during tire mounting/dismounting or balancing work
・Malfunctions due to driving on non-public roads, or participating in races, rallies, or other competitions
・Cases where the warranty card is not presented or its text has been altered
⑶ We will not bear the costs for the following warranty repair executions:
・Costs for repairs performed at locations other than those specified by our company
・The following costs due to inconvenience and loss during warranty repair:
Phone charges, towing fees, compensation for lost wages, rental car fees, accommodation costs, transportation costs, loss of business, loss of opportunity, replacement of used tires with new ones, and other costs incurred for warranty repair