MANUAL
取扱説明書
このアルミホイールをご使用いただくお客様へ
お取り付け・ご使用前に必ず取扱説明書をお読みいただき、注意事項を守って正しく安全にご使用ください。
また、取扱説明書は必要な時にはいつでも取り出せる場所に保管してください。
販売店様へ
装着する前にお読みになり、お客様へご説明の上、必ず取扱説明書をお渡しください。
また、お客様にお買い上げいただきましたホイールは、必ず取扱説明書裏面の保証書の★欄にご記入いただき、
販売店名•住所•電話番号の欄にご記入ご捺印の上、保証書をお客様にお渡しください。
取り扱いを誤った場合、死亡または重傷を負う危険性がきわめて高い内容です。
取り扱いを誤った場合、死亡または重傷を負う可能性がある内容です。
取り扱いを誤った場合、傷害を負う可能性または物的損害が発生する可能性がある内容です。
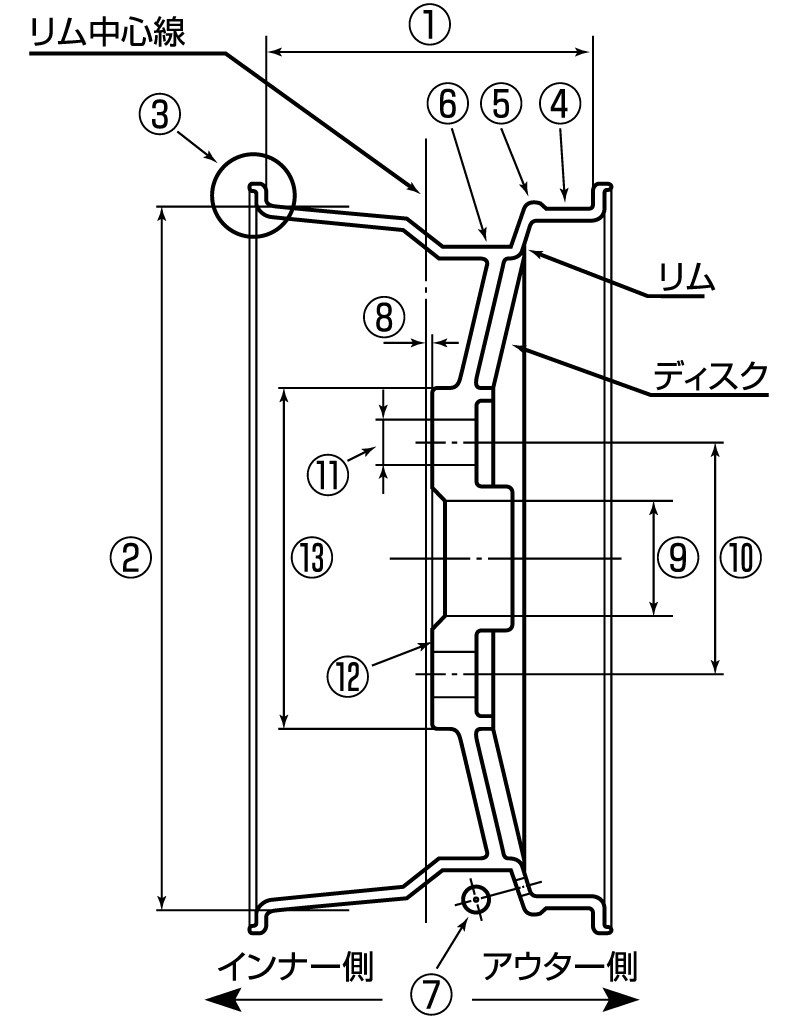
ホイール各部の名称

【1ピースホイールの例】
①
リム幅
②
リム径
③
フランジ
④
ビードシート
⑤
ハンプ
⑥
ウエル
⑦
バルブ孔
⑧
インセット
⑨
ハブ孔直径
⑩
P.C.D.
(ボルト孔ピッチ円直径)
⑪
取り付けボルト孔直径
⑫
ディスク取り付け面
⑬
取り付け部直径
ホイールの選定
■ホイールのサイズ・インセット・取り付け孔数・P.C.D.(ボルト孔ピッチ円直径)・取り付け面形状などが、装着する車両に適合する
ことを確認してください。これらが不適合ですと車両に装着できません。
車軸ごとに同じサイズ同じ品種のホイールを装着してください。異なったホイールを混用すると操縦性・安定性が失われる場合があります。
ホイールとタイヤのサイズが適合しない場合、タイヤやホイールが損傷する場合があります。
バルブの装着・タイヤの組みつけ
■タイヤ交換時には、バルブも新品の専用バルブに交換してください。古いバルブをそのまま使用すると、パッキン等のゴムの劣化で空気がもれることがあります。
■バルブコア(むし)はショートタイプ(JIS B型、9000番)を使用してください。
バルブは付属の専用バルブをご使用ください。別のバルブを使用しますと、寸法・形状が合わず空気がもれることがあります。
■ホイールには、タイヤを表リム面から組むものと裏リム面から組むものがありますので、それぞれのリム形状にあったタイヤ組みを行ってください。
■タイヤ組みの際には必ず潤滑剤を使用してください。
■使用空気圧の充てんはビードがリムのシート周上にフィットしていることを確認した上で行ってください。
■バルブコア(むし)はショートタイプ(JIS B型、9000番)を使用してください。
リムへの組み付けのための空気の充てんは、安全囲いの中に入れるなどの安全措置を行った上で、空気圧300kPa(3.0kgf/㎠)以下で実施してください。
タイヤの組み後、水槽・石鹸水などでタイヤとリムの合わせ目・バルブ等より空気もれがないことを確認してください。バルブの空気もれの確認は、バルブとホイールの合わせ目・バルブ口を確認してください。
ホイールバランスは必ず全輪を調整してください。バランスが狂っていると、異常な振動や操縦性・安全性の低下を起こすことがあります。
ホイールの車体への装着

■ホイールの取り付けナット座(ボルト座)には、60°テーパー座・球面座・平面座などがあります。それぞれの形状にあったボルト(ナット)をご使用ください。
■車両のハブボルト(ボルト孔)と取り付けようとするナット(ボルト)の径・ネジピッチおよび長さが合っていることを必ず確認してください。
■ホイール装着の際は、常にスペアホイール取り付け用ナット(ボルト)を携帯してください。
■純正スペアホイールをご使用の際には、純正スペアホイール用ナット(ボルト)をご使用ください。
■取り付けナット(ボルト)の締め付け順序は、図のように仮締めを行い、その後、推奨トルクで均等に締め付けてください。(推奨トルク)60°テーパーの場合、M10=50~70N・m(5~7kgf・m)、M12=90~120N・m(9~12kgf・m)M14=160~180N・m(16~18kgf・m)
■バルブコア(むし)はショートタイプ(JIS B型、9000番)を使用してください。
【ボルトの締め付け手順】

■取り付けナット(ボルト)の締め付けには、必ずトルクレンチをご使用ください。
■車両に装着後は、ハンドルを左右いっぱいに切って車体との接触がないことを確認してください。
■車両に装着後は、タイヤ・ホイールがフェンダーからはみ出していないことを必ず確認してください。車体からはみ出した装着は法令で禁止されています。
取り付けナット(ボルト)は、必ずホイール指定のものを使用してください。指定外の部品を使用して、十分な締め付けができないと、走行中にホイールが外れる危険があります。
走行中にホイールが外れる恐れがあります。ホイールの車体への装着の際、以下の事項を必ずお守りください。
・車両の取り付け面やハブボルトに、錆・汚れ・変形が無いこと。
・取り付けようとするホイールと車両の取り付け面の干渉(車両取り付け面上のピン・ボルト・センターボス・ワッシャーとホイールの接触が無いこと)
取り付けナット(ボルト)は締めすぎても締め付け不足でも、ホイール・ハブボルト等の変形やゆるみを引き起こし、事故の原因となることがあります。
トルクレンチを使用して、正しい締め付けトルクで締め付けてください。
取り付けナット(ボルト)の締め付けにインパクトレンチを使用しないでください。締めすぎやボルト・ナット・ホイール等の傷・変形を引き起こし、事故の原因となることがあります。
トルクレンチを使用して、正しい締め付けトルクで締め付けてください。
ホイール装着後の走行
■取り付け後やローテーション(タイヤ装着位置の交換)をした後は、100km程度走行した後、取り付けナット(ボルト)を推奨トルクで増し締めてください。
■日常点検時に、取り付けナット(ボルト)のゆるみがないか必ず点検してください。又、センターカバータイプのホイールの場合、センターカバー及びセンターカバー固定ナット(ボルト)締め付けの確認を行ってください。
走行中に不安定な走行状態になったり、異常な振動・音などを感じた時は、すみやかに安全な場所に停車して取り付けナット(ボルト)にゆるみがないか、タイヤ・ホイール、車両に異常がないか点検してください。
異常が認められた場合は、事故の原因となる場合がありますので、適切な交換・修理が終わるまで走行しないでください。
タイヤ・ホイールに変形や損傷を引き起こすことがありますので、道路の縁石との接触・乗り上げ、凸凹道の走行などはさけてください。
急発進・急制動・急施回は、タイヤ・ホイールを傷めるだけでなく、重大な事故の原因にもなりますので絶対にさけてください。
タイヤ空気圧は自然に低下します。走行前には、タイヤの空気圧点検を必ず実施してください。
45%以下の扁平率のタイヤをご使用の際には、空気圧設定を270kpa~350kpa(2.7kgf/㎠~3.5kgf/㎠)の範囲内に調整して使用される事をおすすめします。
上記以外のタイヤサイズをご使用の際は、車両メーカー指定の空気圧に調整してご使用ください。空気圧不足は小さな衝撃でもホイールを傷める原因となります。
お手入れと保管
■ホイールの腐食を避けるために、海辺や雪路・泥路などを走行した後は十分に水洗いし、柔らかい布で水分を完全にふき取ってください。
■洗車機での洗車はホイールを傷つけることがあります。お手入れは手作業での洗浄をおすすめします。
■タイヤ・ホイールの保管は洗浄の後十分乾燥させ、直射日光・雨・水分・油類・高温多湿のところを避けて保管してください。
■保管の際はタイヤの空気圧を使用時の1/2程度に下げてください。再度ご使用の際はタイヤの空気圧の補充・点検・バランス調整を行い、タイヤ・ホイールに異常がないことを確認してください。
■市販のホイール洗浄剤やタイヤ洗浄剤・ボディ洗浄剤・ワックス・コーティング剤の中にはホイールの塗装や表面処理に有害な成分が含まれているものがあります。これらの洗浄剤・ワックス・コーティング剤を使用したことによる腐食や変色・剥がれなどの不具合は保証が適用されませんので、ご注意ください。
その他の注意
組立式(2ピースまたは3ピース)ホイールの、リムとディスクの分解や組立ボルトを緩めたり増し締めしたりすることは絶対にしないでください。
走行中にホイールが分解したり、急激な空気もれを起こす原因となることがあります。
ホイールの修理・加工は絶対にしないでください。不適切な加工・修理は、見た目にはわからない強度低下を招き大変危険です。
修理のご相談は販売店・メーカーにお問い合わせください。
ディスクデザイン面が凹面で、メッキ等の表面処理を施したホイールの場合、光を多く反射し、その光が1点に集中することがあります。そのような場合、周辺に置かれた可燃物が発火する恐れがあります。太陽の位置・天候・ホイールの向き・可燃物の種類・位置などの条件がそろった場合に発火する可能性が高くなりますので、ディスク面が凹面鏡のようなデザインで、メッキ等の表面処理を施したホイールの周辺には新聞紙や雑誌、タイヤなどの可燃物を置かないようにしてください。
フルリバースリムの形状特性のため、雨天の高速走行時にインナーリム部に溜まった水が、走行速度、路面状況やその他の条件と重なり、ごくまれにハンドルが振れることがあります。
上記現象を緩和させる部品【ウォーターアボイダー】を別途でご用意しています。
技術基準
このホイールは「軽合金製ホイールの技術基準(JWL又はJWL-T)」に適合しており「自動車用軽合金製ホイール試験協議会の強度試験(VIA)」にも合格していますが、安全および性能の維持のために本書の内容を守ってお使いください。
ご不明な点はお買いあげの販売店もしくは当社ヘご相談ください。

アルミホイールに関するお問い合わせはJAWA(ジャパンライトアロイホイールアソシエーション)
TEL03-5719-9177でも承っております。
乗用車用
軽合金製ホイールの技術基準
この基準は乗用車(乗用定員11人以上の自動車、二輪車及び側車付二輪自動車を除く)用軽合金ホイールに適用されている国土交通省の定める安全基準。この技術基準に定められた試験を製造者自らの責任において行い、適合したものについてはJWLのマークが表示される。
トラック及びバス用
軽合金製ホイールの技術基準
この基準はトラック・バス用軽合金ホイールに適用されている国土交通省の定める安全基準。この技術基準に定められた試験を製造者自らの責任において行い、適合したものについてはJWL-Tのマークが表示される。
品質検査合格マーク
JWL、JWL-T基準に定める適合商品であるか否かを第三者公的機関の「自動車用軽合金製ホイール試験協議会」が確認するもので、JWL、JWL-T基準による厳格な品質・強度確認試験に合格したものについては、VIAマークの表示がされる。
保証に関する注意
お買い上げ日が記入された取扱説明書兼保証書(ホイール1本に1部ずつ同梱)を必ず販売店からお受け取りください。保証書は、保証書記載のホイールを下記の保証期間及び条件に従って無料修理する事を、お約束するものです。なお、法令並びに当社が指定する日常の点検整備を実施しないことなどに起因する不具合は保証修理いたしません。
保証の内容(保証規定)
⑴保証の内容
お客様のホイールを構成する部品に、法令及び取扱説明書に従った正常な使用状態で不具合が発生した場合、保証書に示す保証期間と条件に従って、無料で修理いたします。(以下この無料修理を保証修理といいます。)保証修理は部品の交換あるいは補修により行います。なお、修理のために取り外した不具合部品は、当社の所有となります。
⑵保証期間
保証期間は次の通りといたします。
| 区分 | 保証期間 | 対象品 |
|---|---|---|
| 一般保証 (機能保証) |
3年 ※購入日に登録いただいてからの期間 |
ホイール本体。ホイールを構成する限定保証対象品を除く。 |
| 限定保証 (外観保証) |
1年 ※購入日に登録いただいてからの期間 |
バルブ、センターカバー、センターキャップ、銘板。 |
保証修理の受付
保証修理の際は、購入された販売店にホイールをお持ちになり、保証書の呈示の上修理をお申し付けください。保証書の呈示がない場合は有料になります。
保証の適用
保証書は日本国内で使用されているホイールのみに適用いたします。保証書は本書に明示した保証期間・条件のもとに無料修理をお約束するものです。したがって保証期間経過後に発生した不具合の修理に関しては、原則として有料となります。
保証を適用しない事項
⑴次に示す現象、不具合については、保証修理いたしません。
・使用消耗あるいは経年劣化により発生する現象。(塗装表面・メッキ表面・スパッタリング表面・樹脂部品などの自然退色等)
・走行機能に影響がない、単なる感覚的現象(ホイールバランス調整ミスによる振動、一般的に操作フィーリングとされているもの)
・通常の注意で発見処置できたにもかかわらず、放置したことにより拡大した不具合
⑵次に示すものに起因する不具合は、保証修理いたしません。
・添付の取り扱い説明書に記載されている注意事項が守られなかったことによる不具合
・法令あるいは当社が認めていない改造による不具合(認めていない修理業者による修理、追加工、追塗装、追メッキ、追バフ等)
・法令で認められていない改造車両への装着による不具合
・通常保守点検あるいは整備の間違いによる不具合
・装着される車両への不適当なホイール(サイズ等)装着による不具合
・使用するホイールへ、法令に定められているサイズ以外のタイヤを装着したことによる不具合
・当社が指定した取り付けボルト、ナット、スペーサー、ハブリング、バランスウエイト等の部品を使用しなかったための不具合
・煤煙、薬品、鳥糞、オイル、石はね、鉄粉、酸性雨、塩害、凍結防止剤、洗剤等の外部要因による不具合
・地震、風水害などの天災、火災、事故による不具合
・タイヤ、チューブの不良品の使用、タイヤ着脱時やバランス作業時の作業ミスによる不具合
・一般公道以外での走行、レース、ラリー等の競技での走行による不具合
・保証書の呈示のない場合や保証書の字句を修正した場合
⑶次に示す保証修理実施における費用は負担いたしません。
・当社が指定する場所以外で修理された場合の費用
・保証修理中の不便さおよび損失等による下記の費用
電話代金・牽引代・休業補償・レンタカー代金・宿泊費・交通費・営業損失・商機逸失保証・使用中のタイヤの新品への交換等、その他保証修理にかかる費用